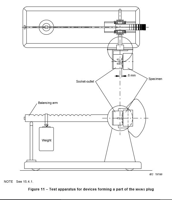
plug torque test device of iec60065 figure 11

Product Description:Name:plug torque test device of iec60065 figure 11Type:BND-CTLJStandards:BS1363.3,IEC60884,VDE0620,IEC60598,IEC60065 fig11ApplicationSocket-outlet Torque Balance Tester is used for test the torque strain exerted by the inputsocket-outlet and the devices with plug pins on output socketoutlets.The balancing arm of the test center lines of the contact tubes of the
Description

Product Description:

Name:plug torque test device of iec60065 figure 11

Type:BND-CTLJ

Standards:BS1363.3,IEC60884,VDE0620,IEC60598,IEC60065 fig11


Application

Socket-outlet Torque Balance Tester is used for test the torque strain exerted by the input

socket-outlet and the devices with plug pins on output socketoutlets.

The balancing arm of the test center lines of the contact tubes of the

socket-outlet at a distance of 8 mm behind the engagement face of the socket-outlet.

With the engagement,the balancing arm is in equilibrium, the engagement face of the

socket-outlet being in the vertical position.

After the device has been engaged,the torque to be applied to the socket-outlet to maintain its engagement face in the vertical plane is determined by the position of a weight on the balance arm.

Due to the different standards of different countries,the device are contained three socket clamps,If the needed clamps are more than 3 ,on request.

In addition ,it includes a 5N weight and a 1N weight


Type:

weight

2.5N*1, 1N*1

Plug

UL plug*1, European plug*1,all-purpose plug*1

Conforms to standard

IEC60884,VDE0620,IEC60598,IEC60065Fig11

Arm of force

0-200mm

The distance from the contact surface and the Axis of the surface

8mm


2.jpg

1.jpg

3.jpg


qtsez